| Ref No. | Part No. | Description |
|---|---|---|
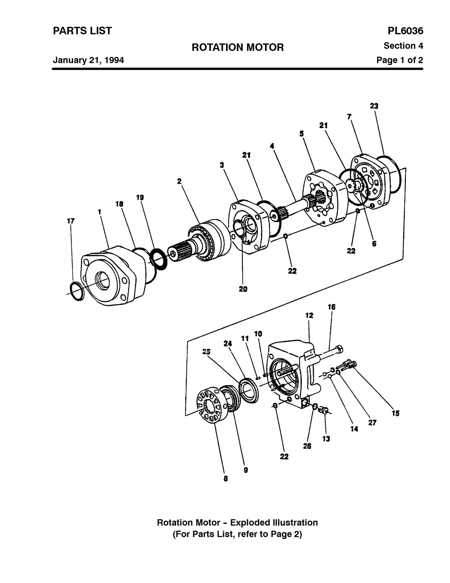
| 1 | 51540847 | HOUSING. BEARING |
| 2 | 51540870 | KIT. SHAFT/BEARING |
| 3 | 51540896 | PLATE. WEAR |
| 4 | 51540904 | DRIVE |
| 5 | 51540912 | GEROLER |
| 6 | 51538999 | DRIVE. VALVE |
| 7 | 51540938 | PLATE. VALVE |
| 8 | 51539005 | VALVE |
| 9 | 51540953 | PLATE. BALANCE |
| 10 | 51539021 | SPRING |
| 11 | 51539013 | PIN |
| 12 | 51541001 | HOUSING. VALVE |
| 13 | 51541019 | PLUG. BOSS |
| 14 | 51541035 | BALL. STEEL |
| 15 | 51540987 | PLUG. BOSS |
| 16 | 51541084 | BOLT |